Iklan 300x250

44 john deere 170 lawn tractor parts diagram

John Deere Model LT170 Lawn Tractor Parts - GreenPartStore John Deere Model LT170 Lawn Tractor Parts - The serial number is located in front and below the seat as indicated in this photo ARIMain - John Deere Parts and John Deere Lawn Mower Parts John Deere Parts Diagrams, John Deere 170 LAWN TRACTORS. ELECTRICAL. ENGINE. FUEL AND AIR. MOWER DECK AND LIFT LINKAGE. OPERATOR'S STATION. POWER TRAIN (170, 180) STEERING AND BRAKES. WHEELS, NON-POWERED AXLES, SHEET METAL.

John Deere Model D170 Wiring Diagram - schematron.org John Deere Model D170 Wiring Diagram. View wiring harness: electrical OEM Parts diagram for John Deere d tractor - pc online. Use the John Deere lawn tractor parts diagram to help keep on top of your machine Deere equipment, and are available for most current John Deere models. manual.

John deere 170 lawn tractor parts diagram

John deere 170 lawn tractor parts diagram

John Deere 170 Lawn Tractor Wiring Diagram - IOT Wiring ... John Deere 170 Lawn Tractor Pc2056 Stator Spark Plug Engine Wiring Igniter Coil. John Deere 170 Lawn Tractor Parts Diagram Www Mariamontes Net. John Deere D170 Lawn Tractor Service Repair Manual. Electrical Wiring Diagram For John Deere Mower Thriftyfun. John Deere 170 Lawn Tractor Pc2056 Mower Lift Lever Shaft Deck And Linkage. PDF John Deere Lx266 Repair Manual - mobile.dispatch.com Part 3 New PTO Switch Has Arrived John Deere LT150, 160, 170, 180, 190 Lawn Tractors Manual TM 1975 John Deere L105, L107, L120 Lawn Tractor Service Manual John Deere Lx266 Repair Manual Original Factory John Deere LX255, LX266, LX277, LX277AWS, LX279, LX288 Lawn Tractors Manual is a Complete Informational Book. John Deere Model D170 Lawn Tractor Parts - GreenPartStore John Deere Accessories and Other Parts; John Deere Attachments; John Deere Lawn and Garden Tractor Parts; John Deere Lawn Tractor Parts; John Deere Zero Turn Mower Parts; John Deere Front Mower Parts; John Deere Compact Utility Tractor Parts; John Deere Gator/Utility Vehicle Parts; John Deere Utility Tractor Parts; John Deere QuikTrak Mower Parts

John deere 170 lawn tractor parts diagram. ARIMain - Weingartz AIR FILTER & MOUNTING PARTS: FUEL AND AIR. 170 Lawn Tractor -PC2056. Battery Charger Kit: ELECTRICAL. 170 Lawn Tractor -PC2056. BATTERY,BATTERY BASE & CABLES: ELECTRICAL. 170 Lawn Tractor -PC2056. BRAKE LINKAGE: STEERING & BRAKES. 170 Lawn Tractor -PC2056. John Deere 170 Lawn Tractor Parts Diagram - Best Deer 2017 ... This kind of picture (John Deere 170 Lawn Tractor Parts Diagram - Best Deer 2017 intended for John Deere Lawn Tractor Parts Diagram) above will be classed having: john deere 110 lawn tractor parts diagram, john deere 125 lawn tractor parts diagram, john deere 160 lawn tractor parts diagram, . posted by means of admin at October, 14 2017. John Deere Parts Diagrams, John Deere 170 Lawn Tractor -PC2056 John Deere Parts Diagrams, John Deere 170 Lawn Tractor -PC2056. AIR FILTER & MOUNTING PARTS: FUEL AND AIR. Battery Charger Kit: ELECTRICAL. BATTERY,BATTERY BASE & CABLES: ELECTRICAL. John Deere 170 Parts Diagrams - Lawn Mower Parts John Deere 170 Exploded View parts lookup by model. Complete exploded views of all the major manufacturers. It is EASY and FREE

John Deere Parts Diagrams, John Deere D170 100 Series ... John Deere Parts Diagrams, John Deere D170 100 Series Tractor Material Collection System -PC10448. Air Filter & Fuel Pump: Fuel and Air. Alternator & Flywheel: Electrical. Attachment,Height Gauge: Mower Deck & Lift Linkage. Attachment,Hopper: Material Collection System. John Deere Model 170 Lawn Tractor Parts - GreenPartStore John Deere Complete Carburetor Assembly - AM109205 - See product detail for usage. (2) $296.30. Usually available. Add to Cart. Quick View. John Deere 170 Lawn Tractor Parts Diagram - Best Deer 2017 ... Through the thousand photos on the net with regards to john deere garden tractor parts diagram, selects the very best collections along with greatest quality simply for you, and this photographs is one of graphics series in your greatest photos gallery with regards to John Deere Garden Tractor Parts Diagram.Lets hope you can want it. This particular impression (John Deere 170 Lawn Tractor ... John Deere Parts Diagram & Parts Search - Green Farm Parts John Deere AG, Lawn & Garden and CWP Equipment Parts Search. John Deere parts lookup tool and diagram is an incredible online source. It is a complete catalog that shows you detailed parts diagrams of every part of your machine. This online parts catalog is robust and easy to use. Searching for your John Deere parts online has never been easier.

John Deere Model E170 Lawn Tractor Parts - GreenPartStore Model E170. Click here for 48-inch Mower Deck Parts for E170. Click here for Rear Bagger Parts for E170. Click here for 44-inch Snow Blower Parts for E170. Click here for 46-inch Front Blade Parts for E170. Click here for Accessories for E170. John Deere 170 Lawn Tractor Wiring Diagram - Wiring ... John Deere 170 Lawn Tractor Pc2056 Electromagnetic Pto Clutch Warner Electrical. John deere 170 my tractor forum lawn pc2056 lt150 160 180 i have a j d it will parts d170 service electrical wiring diagram for jd won t start garden forums e170 belt www complete transaxle mia10320 e180 25 hp s170 24 us x500 select series tractordata com riding mower f911 f915 f925 f932 f935 off 56 265 ignition ... John Deere Model 170 Lawn Tractor Parts, Page 2 John Deere Lawn and Garden Tractor Parts; John Deere Lawn Tractor Parts; John Deere Zero Turn Mower Parts; John Deere Front Mower Parts; ... Model 170; Model 170. Products [91] Sort by: Previous Page 1 2 3 Next Page View All. Quick View. John Deere Fuel Pump Assembly - AM109212 ... PDF John Deere 160 Lawn Tractor Repair Manual Drive Belts John Deere 160 and 170 180 Series mower. Weight bracket for the John Deere 160 lawn tractor John Deere 160 hauling wood Will It Run? Free John Deere Garden Tractor John Deere 160 heat shield and deck view connection points How to Put a Belt on a John Deere 160 Riding Mower John Deere 170 Lawn Tractor Restoration John Deere 160. Will ...

John Deere D170 100 Series Tractor Material Collection System ...

John Deere D170 100 Series Tractor Material Collection System ...

John Deere LT170 Lawn Tractor Parts - Quick Parts ... A Complete Listing Of All John Deere Lawn Tractor Parts Is Available Using Illustrated Diagrams. This quick parts reference guide will provide you with the most common John Deere LT170 Lawn Tractor Parts 42C Mower Deck. These John Deere Lawn Tractor Parts may include: Tune Up Kit, Spark Plug, Mower Blades, Traction Drive Belt, Transmission Belt ...

John Deere LA175-D170 54

John Deere LA175-D170 54" Deck Parts

John Deere 170 Lawn Tractor Parts - Mutton Power John Deere 170 Parts. The 170 Riding Lawn Tractor was produced from 1989-1990 as part of the Late 100 Lawn Series. Standard features included a 14 HP Kawasaki engine, 5 speed gear transmission, manual sector and pinion steering, and a 38" mid mount mower deck. Popular attachments include snow blower and front blade.

John Deere OEM 38

John Deere OEM 38" Mower Deck Shell - Fits 108, 111, 112L ...

Wiring Diagram For A John Deere E170 Lawn Tractor John Deere Lawn Tractor Wiring Diagram - Control Wiring Diagram • f john deere wiring diagram auto electrical wiring diagram rh psu edu co fr sanjaydutt me John Deere Parts Diagrams, John Deere D Tractor -PC Home. Every owner of a John Deere riding lawn and garden product is a potential customer for a high-quality, affordable utility cart.

John Deere OEM 38

John Deere OEM 38" Mower Deck Shell - Fits 108, 111, 112L ...

John Deere Parts Diagrams, John Deere E170 100 Series ... John Deere Parts Diagrams, John Deere E170 100 Series Tractor E170 Tractor -PC13341. Alternator & Flywheel: Engine ETN159379. Attachment,Height Gauge: Mower Deck & Lift Linkage. Attachment,Material Collection System W/ Blade,48 inch: Material Collection System. Attachment,Mower Deck,48 inch: Mower Deck & Lift Linkage.

John Deere Parts Lookup -170 Lawn Tractor -PC2056

John Deere Parts Lookup -170 Lawn Tractor -PC2056

John Deere 160 Lawn Tractor Parts Diagram | Automotive ... Description: John Deere Hydrostatic Transmission Fix for John Deere 160 Lawn Tractor Parts Diagram, image size 1080 X 975 px, and to view image details please click the image.. Here is a picture gallery about john deere 160 lawn tractor parts diagram complete with the description of the image, please find the image you need.

I have a Deere 170 lawn mower. Every time we turn the blades ...

I have a Deere 170 lawn mower. Every time we turn the blades ...

PDF John Deere 180 Lawn Tractor Oem Service Manual John Deere Parts Diagram John Deere Parts Diagram & Online Parts Catalog: Gators, compact tractors, lawn & garden, skid steers. The online John Deere parts diagram is an incredible source. It shows you detailed pictures of every part of your machine. This online parts catalog is Page 21/24

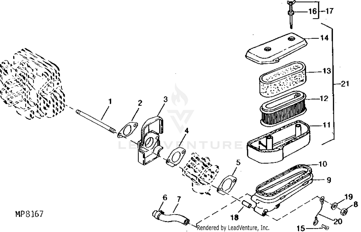
John Deere 170 Lawn Tractor -PC2056 AIR FILTER & MOUNTING ...

John Deere 170 Lawn Tractor -PC2056 AIR FILTER & MOUNTING ...

D170 Owner Information | Parts & Service | John Deere CA D170 Lawn Tractor: Owner Information ... Parts Diagram. Maintenance Parts. Operator's Manual. Register for Warranty Protection. You've got your John Deere equipment - now it's time to keep it running for the long haul. Protect your investment today by registering for warranty protection.

S170 Lawn Tractor

S170 Lawn Tractor

John Deere Parts Diagrams, John Deere D170 100 Series Tractor John Deere Parts Diagrams, John Deere D170 100 Series Tractor. Blade, 46 inch. Electrical. Engine ETN161948. Fuel and Air. Labels and Optional Equipment.

OPERATOR'S MANUAL

OPERATOR'S MANUAL

TractorData.com John Deere 170 tractor information John Deere Lawn Tractors 100 Series published in 1989 Operator's Manual 170, 175, 180 and 185 (OMM78999) published in 1988, by John Deere Lawn & Garden Equipment published in 1990, by John Deere

John Deere Parts Lookup -170 Lawn Tractor -PC2056

John Deere Parts Lookup -170 Lawn Tractor -PC2056

john deere 265 parts diagram | eurekaconsumer.com Mower Deck Manual John Deere 265 Lawn. anyweartee.com. manual john deere residential lawn & garden tractors, arndt guide riding mower deck belt diagrams diy repair manual ayp - mtd ... 265 285 & 320...

Pin on Mowers & Landscaping Tools

Pin on Mowers & Landscaping Tools

John Deere Model D170 Lawn Tractor Parts - GreenPartStore John Deere Accessories and Other Parts; John Deere Attachments; John Deere Lawn and Garden Tractor Parts; John Deere Lawn Tractor Parts; John Deere Zero Turn Mower Parts; John Deere Front Mower Parts; John Deere Compact Utility Tractor Parts; John Deere Gator/Utility Vehicle Parts; John Deere Utility Tractor Parts; John Deere QuikTrak Mower Parts

John Deere D170 Lawn Tractor Parts

John Deere D170 Lawn Tractor Parts

PDF John Deere Lx266 Repair Manual - mobile.dispatch.com Part 3 New PTO Switch Has Arrived John Deere LT150, 160, 170, 180, 190 Lawn Tractors Manual TM 1975 John Deere L105, L107, L120 Lawn Tractor Service Manual John Deere Lx266 Repair Manual Original Factory John Deere LX255, LX266, LX277, LX277AWS, LX279, LX288 Lawn Tractors Manual is a Complete Informational Book.

10XFuel filter for John Deere 170 175 180 185 STX30 STX38 STX46 Lawn  Tractor | eBay

10XFuel filter for John Deere 170 175 180 185 STX30 STX38 STX46 Lawn Tractor | eBay

John Deere 170 Lawn Tractor Wiring Diagram - IOT Wiring ... John Deere 170 Lawn Tractor Pc2056 Stator Spark Plug Engine Wiring Igniter Coil. John Deere 170 Lawn Tractor Parts Diagram Www Mariamontes Net. John Deere D170 Lawn Tractor Service Repair Manual. Electrical Wiring Diagram For John Deere Mower Thriftyfun. John Deere 170 Lawn Tractor Pc2056 Mower Lift Lever Shaft Deck And Linkage.

My

My "new" John Deere 170 | My Tractor Forum

JOHN DEERE 170 175 180 185 TRACTOR OPERATORS MANUAL NR ...

JOHN DEERE 170 175 180 185 TRACTOR OPERATORS MANUAL NR ...

John Deere Lawn Tractor 170, 175, 180 & 185 Parts Manual

John Deere Lawn Tractor 170, 175, 180 & 185 Parts Manual

John Deere E170 Price, Specs, Review, Attachments 2022

John Deere E170 Price, Specs, Review, Attachments 2022

How do you adjust the foot brake on a deere l100

How do you adjust the foot brake on a deere l100

John Deere Electrical Diagram? - Pennock's Fiero Forum

John Deere Electrical Diagram? - Pennock's Fiero Forum

John Deere Lawn Mower Deck belt replacement

John Deere Lawn Mower Deck belt replacement

John Deere 170 Lawn Tractor -PC2056 BRAKE LINKAGE: STEERING ...

John Deere 170 Lawn Tractor -PC2056 BRAKE LINKAGE: STEERING ...

John Deere 170 Lawn Tractor -PC2056 FUEL LINES & FUEL FILTER ...

John Deere 170 Lawn Tractor -PC2056 FUEL LINES & FUEL FILTER ...

Pin on 54

Pin on 54" Deck Digram

Steering Sector & Pinion Gear Replacement - John Deere LA145 Riding Mower

Steering Sector & Pinion Gear Replacement - John Deere LA145 Riding Mower

How to Change the Easy Change Oil System | John Deere

How to Change the Easy Change Oil System | John Deere

Spark Plugs For John Deere D170 Lawn Tractor - Mower Parts Land

Spark Plugs For John Deere D170 Lawn Tractor - Mower Parts Land

John Deere LT170 Lawn Tractor Maintenance Guide & Parts List

John Deere LT170 Lawn Tractor Maintenance Guide & Parts List

John Deere Lawn Mower Engine Cover Online Hotsell, UP TO 54 ...

John Deere Lawn Mower Engine Cover Online Hotsell, UP TO 54 ...

Pin on Heavy Equipment Service and Repair Manual

Pin on Heavy Equipment Service and Repair Manual

John Deere 245 Garden Tractor Parts

John Deere 245 Garden Tractor Parts

John Deere E180 Lawn Tractor Price, Specs, Reviews 2022

John Deere E180 Lawn Tractor Price, Specs, Reviews 2022

John Deere D170 drive belt replacement DIY Traction Drive Belt

John Deere D170 drive belt replacement DIY Traction Drive Belt

Toro 74570, 170-DH Lawn Tractor, 2004 (SN 240000001-240999999 ...

Toro 74570, 170-DH Lawn Tractor, 2004 (SN 240000001-240999999 ...

John Deere 170 Lawn Tractor -PC2056 STATOR,SPARK PLUG,ENGINE ...

John Deere 170 Lawn Tractor -PC2056 STATOR,SPARK PLUG,ENGINE ...

John Deere 170 Skid Steer - Attachments - Specifications

John Deere 170 Skid Steer - Attachments - Specifications

2011 John Deere D170 Review | Tractor News

2011 John Deere D170 Review | Tractor News

D105, D110, D125, D130, D140, D155, D160 and D170 John Deere ...

D105, D110, D125, D130, D140, D155, D160 and D170 John Deere ...

John Deere Parts Diagrams, John Deere 170 Lawn Tractor -PC2056

John Deere Parts Diagrams, John Deere 170 Lawn Tractor -PC2056

John Deere 170 Riding Mower Belt, Variable Drive (Primary 970 Mower 38

John Deere 170 Riding Mower Belt, Variable Drive (Primary 970 Mower 38" S/N 420001less than )

JOHN DEERE 170 Riding Lawn Mowers Outdoor Power Auction ...

JOHN DEERE 170 Riding Lawn Mowers Outdoor Power Auction ...

Pin on https://www.heavy-equipmentmanual.com/

Pin on https://www.heavy-equipmentmanual.com/

John Deere 170 Lawn Tractor -PC2056 FRONT AXLE: WHEELS,NON ...

John Deere 170 Lawn Tractor -PC2056 FRONT AXLE: WHEELS,NON ...

John Deere 170 Lawn Tractor Restoration - YouTube

John Deere 170 Lawn Tractor Restoration - YouTube

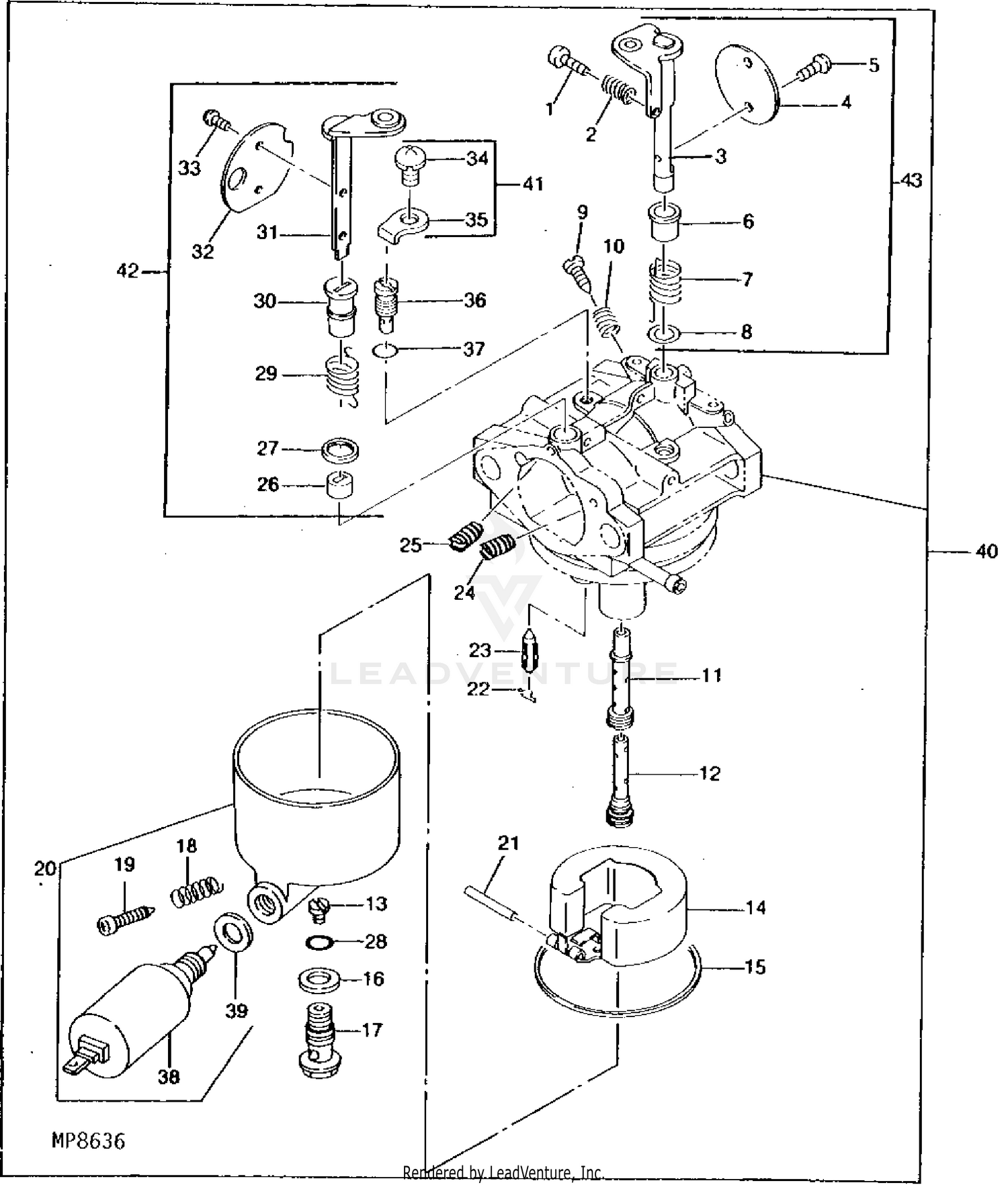
John Deere 170 Lawn Tractor -PC2056 Carburetor 028505 ...

John Deere 170 Lawn Tractor -PC2056 Carburetor 028505 ...

0 Response to "44 john deere 170 lawn tractor parts diagram"

Post a Comment

Iklan Atas Artikel

Iklan Tengah Artikel 1

Iklan Tengah Artikel 2

Iklan Bawah Artikel