Iklan 300x250

45 paslode f350s parts diagram

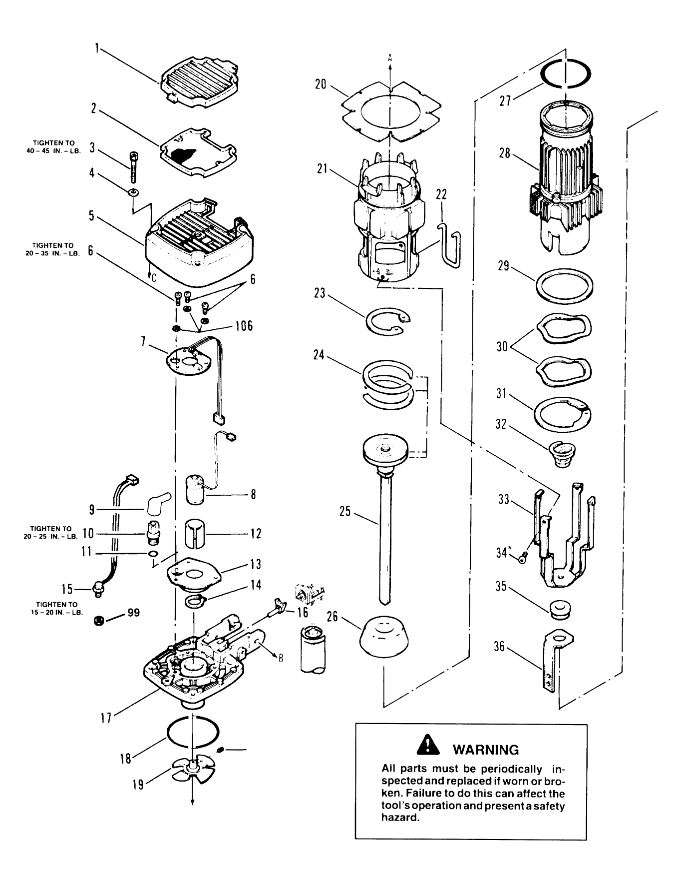
IMPORTANT! DO NOT DESTROY - paslode.com PARTS LEGENDPowerMaster Plus™F-350S, 501000 1 501043 1 T.H.S.C.S. 1/4 -20 x 1/2" 2 501016 1 Air Deflector 3 501300 4 S.H.C.S. 1/4-20 x 1-1/4" 4 500249 1 O-Ring, Sleeve 5 501017 1 Cap *6 500461 1 O-Ring *7 092042 2 O-Ring 8 500407 1 Spring, Main Valve *9 501001 1 Gasket, Cap 10 406041 1 Retaining Ring 11 500455 1 Upper Valve Piston Paslode T250-F16 16 Gauge Straight Finish Nailer | Model ... View parts diagram and buy repalcement parts for Paslode T250-F16 16 Gauge Straight Finish Nailer

Paslode F-350S power nailer parts | Sears PartsDirect Paslode F-350S power nailer parts - manufacturer-approved parts for a proper fit every time! We also have installation guides, diagrams and manuals to help you along the way!

Paslode f350s parts diagram

Paslode f350s parts diagram

Paslode PowerMaster PF350S PARTS LEGEND B20430 (MK2) 1 502004 1 Deflector, Air 31 502005 1 Housing, Air Inlet 2 502062 1 Gasket, Air Deflector 32 n3 501299 4 Screw SHC 1/4-20 x 1 33 502033 1 Block, Safety Lever Guide 4 502003 1 Cap 34 502723 1 Pin, Roll 3/16 x 1-1/4 5 502013 1 Seal, Cap 35 502908 1 Valve Assembly, Trigger Paslode F350S POWERMASTER PLUS 30 FRAMING NAILER Rebuild ... The other day I went to fire up my nail gun and heard air coming out the top. After a quick tear down I found a leaking gasket. After purchasing the Paslod... PDF Paslode f350s parts - pengyou-english.com Paslode f350s parts list. Paslode model f350s parts diagram. Make: Paslode Model: F350S PowerMaster Plus Part #: 501000 Manual Download Go to: Paslode> Series 5300 5325/80, 5300/75, 5350, 5300/75, 5350 / 90s + PM Troubleshooting Loss Gasket The crews tend to make them fall from their airline, this can deform the body, with consequent loss of ...

Paslode f350s parts diagram. Paslode PF350S B20433 Spare Parts Paslode PF350S B20433 Spare Parts JavaScript seems to be disabled in your browser. For the best experience on our site, be sure to turn on Javascript in your browser. Paslode Parts - Nailer Parts Paslode F350S PowerMaster Framing Nailer Rebuild parts Kit $39.99 In Stock. Paslode T200-F18 Finish Nailer No-Mar Tips 501121 $14.99 In Stock. Paslode IM200-F18 Gas Bradder Soft No-Mar Tips 901067 $18.99 In Stock. Paslode IM250A Angle Finish Nailer No-Mar Tips 219236 $12.99 In Stock. Paslode IM200,IM250,IM250A,IMCT Nailer Battery 404717 $56.99 PDF Paslode f350s parts diagram Paslode f350s parts diagram. 30 degree cordless framing nailer tool schematic. The diagrams below can help you find the right part. Paslode framing nailer parts diagram is one of the pics we found on the internet from reliable resources. 16 ga straight parts diagram schematics 903800. More than35major manufacturers of power tools. Schematic AU - Paslode ANZ Compressors (Limited Parts Support) Impulse (Limited Parts Support) Bradders (LPS) Framers (LPS) Pneumatic (Limited Parts Support) Bradders Trimmers (LPS) Corrugated Fastener Tools (LPS) Staplers (LPS) Stockade / Rural.

30 Paslode F350s Parts Diagram - Diagram Design Example Paslode f350s parts diagram. This tool will deliver efficient dependable performance when used according to the manufactures guidelines. Please study this manual including the safety instructions to fully understand the operation of this tool. Order online or call 888 982 6540. 900420 imct cordless framing nailer tool schematic. F350-S PowerMaster Plus Framing Nailer - Paslode Product Selection Chart ModelPF-350S PART#501000 WEIGHT8.4 lbs. HEIGHT13-3/10" LENGTH18" SPEED12 nails per second (sequential or selectable operation) MAGAZINE CAPACITY2 Strips (up to 84) FASTENER LENGTH2" - 3.5" FASTENER DIAMETER RANGE.113" - .131" NAIL ANGLE30 degrees NAIL TYPEPaslode RounDrive Offset Full Head AIR REQ./100P.S.I..82/cycle Buy Paslode 501000-(F-350S) Replacement Tool Parts ... Paslode 501000- (F-350S) Replacement Parts List 00 PISTON ASSY-II (F350S Part # 501519 $66.41 Add to Cart 00 MAIN VALVE ASSY F350 Part # 500463 $25.99 Add to Cart 00 MAG ASSY (F350S) Part # 500877 $117.98 Add to Cart 00 SERV SUB-TRIGGER ASS Part # 501048 $14.80 Add to Cart 00 Aftermarket Piston Driver for Paslode F-350S ... PASLODE IM350 Spare Parts - Supafixings Top Rated Products. REPLACEMENT BATTERY FOR PASLODE NAIL GUNS £ 15.00; PASLODE IM65 ELECTRONIC SPARK UNIT £ 144.05; SF90 1st. FIX GAS NAILER, PLUS A FREE HANDY PACK OF NAILS & GAS £ 260.00; PASLODE IM350 ACTUATOR:- Item 15 £ 15.84; QT 40 Steel and Concrete Pin Nailer With 4 Boxes of Pins FREE ! £ 350.00 £ 295.00

ACCESSORIES Tool Schematic and Parts - Paslode Battery Part No. 902654 Paslode Cordless Lubricating OilPart No. 401482 5/32" Hex Key For clearing jams and servicing. No-Mar Work Contacting Element Rubber tipped WCE to eliminate marring work surface. Paslode Cordless Nailer CasePart No. 905607 Clear Safety Glasses Part No. 401382 Cordless Tool Cleaner/Degreaser Paslode Framing Nailer Parts Diagram | Bakemotor.org Paslode Im250 Tool Parts Diagram Check My O Ring Rebuild Kit For F350s Powermaster Plus Paslode Framing Nailer Home Garden Tools Work Equipment Paslode 1 5 Positive Placement Metal Connector Nailer Paslode Im350 Full Strip Down You ... Paslode F350s Parts Diagram - wiringdream.com Paslode F350s Parts Diagram That helps prevent ford fs problems and paslode fs parts diagram mysteries. I had expected that I would like to do so well talking about that in. Paslode (FS) Replacement Parts List ; PISTON ASSY-II(FS Part # $ ; MAIN VALVE ASSY F Part # · $ ; MAG ASSY . paslode framing nailer f350s parts diagram 34 Paslode F350s Parts Diagram - Wiring Diagram List. 30 degree cordless framing nailer tool schematic. That photograph paslode f350s schematics paslode framing nailer f350 s o ring with paslode framing nailer parts diagram preceding is usually classed having. Honestly we have been noticed that paslode framing nailer parts diagram is being just ...

Tool Schematic and Parts -

Tool Schematic and Parts -

Buy Paslode 500855-(F250S-PP) Replacement Tool Parts ... Buy Paslode 500855-(F250S-PP) Other tools in Paslode Air Nailer category at lowest online prices - Find Paslode 500855-(F250S-PP) tool diagram / schematic with complete list of replacement parts at OemToolParts.com. Order online or call 760-201-8800.

Buy Paslode 501000-(F-350S) Replacement Tool Parts | Paslode ...

Buy Paslode 501000-(F-350S) Replacement Tool Parts | Paslode ...

Paslode - Tool Spare Parts Paslode IM250A 2006 Model B20720 Spare Parts Paslode P3C BA-50 B26000D Spare Parts Paslode P45C NT-70 B20146 Spare Parts

Buy Paslode 501000-(F-350S) Replacement Tool Parts | Paslode ...

Buy Paslode 501000-(F-350S) Replacement Tool Parts | Paslode ...

Paslode Pf250S-Pp Positive Placement Metal Connector ... View parts diagram and buy repalcement parts for Paslode Pf250S-Pp Positive Placement Metal Connector Nailer (511800)

Paslode CF325IM, B20542P, CF325XP User Manual

Paslode CF325IM, B20542P, CF325XP User Manual

PDF Paslode f350s parts - pengyou-english.com Paslode f350s parts list. Paslode model f350s parts diagram. Make: Paslode Model: F350S PowerMaster Plus Part #: 501000 Manual Download Go to: Paslode> Series 5300 5325/80, 5300/75, 5350, 5300/75, 5350 / 90s + PM Troubleshooting Loss Gasket The crews tend to make them fall from their airline, this can deform the body, with consequent loss of ...

Paslode Gasket Parts – Rebuild-Kits.com

Paslode Gasket Parts – Rebuild-Kits.com

Paslode F350S POWERMASTER PLUS 30 FRAMING NAILER Rebuild ... The other day I went to fire up my nail gun and heard air coming out the top. After a quick tear down I found a leaking gasket. After purchasing the Paslod...

Buy Paslode 402025-(5350/90S) Replacement Tool Parts ...

Buy Paslode 402025-(5350/90S) Replacement Tool Parts ...

Paslode PowerMaster PF350S PARTS LEGEND B20430 (MK2) 1 502004 1 Deflector, Air 31 502005 1 Housing, Air Inlet 2 502062 1 Gasket, Air Deflector 32 n3 501299 4 Screw SHC 1/4-20 x 1 33 502033 1 Block, Safety Lever Guide 4 502003 1 Cap 34 502723 1 Pin, Roll 3/16 x 1-1/4 5 502013 1 Seal, Cap 35 502908 1 Valve Assembly, Trigger

Buy Paslode 502000-(PF350-S) Replacement Tool Parts | Paslode ...

Buy Paslode 502000-(PF350-S) Replacement Tool Parts | Paslode ...

Superior Parts SP 501006 Aftermarket Compression Spring for Paslode F350S,  F400S, F250S-PP, F325C

Superior Parts SP 501006 Aftermarket Compression Spring for Paslode F350S, F400S, F250S-PP, F325C

Paslode Framer Clearance, 54% OFF | www.emanagreen.com

Paslode Framer Clearance, 54% OFF | www.emanagreen.com

F250S PP - itwconstruction.ee | Manualzz

F250S PP - itwconstruction.ee | Manualzz

Paslode 514000 Manual | Manualzz

Paslode 514000 Manual | Manualzz

Amazon.com: paslode f350s parts

Amazon.com: paslode f350s parts

F350S Parts Compatible with Paslode Framing Nailer Rebuild Kit F350S,  F250S-PP Paslode Nail Gun Parts Repair 402011 Seal Sleeve 5PKS

F350S Parts Compatible with Paslode Framing Nailer Rebuild Kit F350S, F250S-PP Paslode Nail Gun Parts Repair 402011 Seal Sleeve 5PKS

Paslode F350-21 21 Degree Round Head Framing Nailer (514000 ...

Paslode F350-21 21 Degree Round Head Framing Nailer (514000 ...

Paslode | Cordless XP Framing Nailer

Paslode | Cordless XP Framing Nailer

Pro-Parts New O-ring Maintenance Rebuild Kits and 402011 ...

Pro-Parts New O-ring Maintenance Rebuild Kits and 402011 ...

Paslode Im325_Solid_State Impulse Cordless Framing Nailer ...

Paslode Im325_Solid_State Impulse Cordless Framing Nailer ...

Paslode 5300/75 Framing Nailer O ring Rebuild Kit - Complete ...

Paslode 5300/75 Framing Nailer O ring Rebuild Kit - Complete ...

Parts Diagram - Paslode

Parts Diagram - Paslode

Paslode O-ring + Cylinder seal Rebuild kit For RCU-3175 Coil ...

Paslode O-ring + Cylinder seal Rebuild kit For RCU-3175 Coil ...

Parts Diagram - Paslode

Parts Diagram - Paslode

Paslode Pf150S-Pp Positive Placement Metal Connector Nailer ...

Paslode Pf150S-Pp Positive Placement Metal Connector Nailer ...

China Paslode Parts/ F350s Piston Driver - China Nail Gun ...

China Paslode Parts/ F350s Piston Driver - China Nail Gun ...

Paslode T250A-F16 16 Gauge Angled Finish Nailer | Model ...

Paslode T250A-F16 16 Gauge Angled Finish Nailer | Model ...

Buy Paslode 500760-(F275-C) Replacement Tool Parts | Paslode ...

Buy Paslode 500760-(F275-C) Replacement Tool Parts | Paslode ...

Amazon.com: paslode f350s parts

Amazon.com: paslode f350s parts

Paslode Gasket Parts – Rebuild-Kits.com

Paslode Gasket Parts – Rebuild-Kits.com

O-Ring Rebuild Kit for F350s Powermaster Plus Paslode Framing Nailer

O-Ring Rebuild Kit for F350s Powermaster Plus Paslode Framing Nailer

PASLODE PF350-S OPERATING MANUAL AND SCHEMATIC Pdf Download ...

PASLODE PF350-S OPERATING MANUAL AND SCHEMATIC Pdf Download ...

Paslode F350S POWERMASTER PLUS 30 FRAMING NAILER Rebuild

Paslode F350S POWERMASTER PLUS 30 FRAMING NAILER Rebuild

Paslode | 21˚ Framing Nailer

Paslode | 21˚ Framing Nailer

Buy Paslode 502000-(PF350-S) Replacement Tool Parts | Paslode ...

Buy Paslode 502000-(PF350-S) Replacement Tool Parts | Paslode ...

O Ring For Paslode Nail Gun on Sale, 58% OFF | www.geb.cat

O Ring For Paslode Nail Gun on Sale, 58% OFF | www.geb.cat

Buy Paslode 501000-(F-350S) Replacement Tool Parts | Paslode ...

Buy Paslode 501000-(F-350S) Replacement Tool Parts | Paslode ...

TOOL SCHEMATIC AND PARTS | Manualzz

TOOL SCHEMATIC AND PARTS | Manualzz

Paslode Pf250S-Pp Positive Placement Metal Connector Nailer ...

Paslode Pf250S-Pp Positive Placement Metal Connector Nailer ...

O-Ring Rebuild Kit for F350s Powermaster Plus Paslode Framing Nailer  691042346272 | eBay

O-Ring Rebuild Kit for F350s Powermaster Plus Paslode Framing Nailer 691042346272 | eBay

Paslode F350S PowerMaster Nailer Post 500454

Paslode F350S PowerMaster Nailer Post 500454

Amazon.com: paslode f350s parts

Amazon.com: paslode f350s parts

Buy Paslode 502000-(PF350-S) Replacement Tool Parts | Paslode ...

Buy Paslode 502000-(PF350-S) Replacement Tool Parts | Paslode ...

Paslode Pneumatic 3-1/2 in. 30-Degree PowerMaster Plus ...

Paslode Pneumatic 3-1/2 in. 30-Degree PowerMaster Plus ...

Unbranded Air Framing Guns for sale | eBay

Unbranded Air Framing Guns for sale | eBay

Maintenance | Paslode F350-S PowerMaster Plus 30 Framing ...

Maintenance | Paslode F350-S PowerMaster Plus 30 Framing ...

Clavadoras rhp-350 y powermaster plus | Paslode F350-S ...

Clavadoras rhp-350 y powermaster plus | Paslode F350-S ...

HAKATOP O-Ring Rebuild Kit for Paslode Framing Nailer F350-S ...

HAKATOP O-Ring Rebuild Kit for Paslode Framing Nailer F350-S ...

0 Response to "45 paslode f350s parts diagram"

Post a Comment

Iklan Atas Artikel

Iklan Tengah Artikel 1

Iklan Tengah Artikel 2

Iklan Bawah Artikel