Iklan 300x250

43 grasshopper mower deck parts diagram

bestbrains.us › riding-lawn-mower-steering-problemsbestbrains.us 2 days ago · The manufacturer lists the riding mower size in terms of the width of the mower deck (or the cut it makes). Parts Manuals Steering Wheels (2) Tires, Wheels and Rims (38) Transmissions If you experience any problems accessing this website, please call us at 1-800-828-5500 for assistance. Lawn-Boy 1990 Ride-On Attachments Parts Catalog. OEM Parts | Grasshopper Mower Grasshopper parts are manufactured to meet ultra-precise engineering specifications, and can help you maximize performance and significantly extend the life of your mower. Explore the benefits and see why genuine Grasshopper parts are a "must have" for any owner. Oil & Air Filters. Superior filtration is an absolute essential when it comes to ...

Genuine OEM Grasshopper® Mower Parts Diagrams Genuine OEM Grasshopper® Mower Parts Diagrams 220 / 225 • Electrical Wiring & Switches 2000 & 2001. Click On a Part Number Below for Details. NOTE: If the part number you select is not linked to the shopping cart, call toll-free 866-698-4070 for availability.

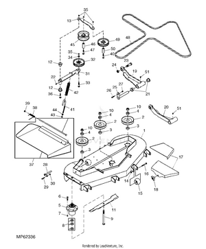
Grasshopper mower deck parts diagram

Grasshopper mower deck parts diagram

How do you tell what year a Grasshopper mower is? Click to see full answer In respect to this, how do I tell what year my lawn mower is? By locating the serial number tag on your machine, you can easily determine your mower's age. If you have the owner's manual for your mower, you can also check the date printed on the inside of the manual.This date should be one year after the mower's manufacture date. Genuine OEM Grasshopper® Mower Parts Diagrams Genuine OEM Grasshopper® Mower Parts Diagrams 223 / 227 • M161 Deck 2008. Click On a Part Number Below for Details. NOTE: If the part number you select is not linked to the shopping cart, call toll-free 866-698-4070 for availability. K&T Parts House - Grasshopper Mower Parts - Belts OEM ... Deck Belt: Deck Belt. Replaces Grasshopper 382034. 5/8" x 135-1/2". Fits 3452 & 9852. Wrapped, aramid cord construction.

Grasshopper mower deck parts diagram. grasshopper mower parts - eBay GRASSHOPPER OEM PARTS 398527 MALE HALF PTO MOWER DECK DRIVE SHAFT 3661 3472 3572. Brand New. C $227.11. Top Rated Seller. Top Rated Seller. Buy It Now. +C $25.38 shipping estimate. from United States. Grasshopper 9061 Parts Diagram for Deck Mower Grasshopper 9061 Deck Mower Parts Diagram SWIPE SWIPE. Deck Mower ; 9061 Deck Mower Move JavaScript Disabled - Unable to show Cart. 1. 382037. Blade Belt Right Side 52" Cut Add to Cart. 4. 393225. Flat Idler Pulley Add to Cart. 5A. 320231. Blade 31" - 44" Cut & Center on 48" Cut Add to Cart. 5B. 320231. GRASSHOPPER LAWN MOWER PARTS - arkansas-ope.com 14 GRASSHOPPER LAWN MOWER PARTS. 320253 BLADE FOR GRASSHOPPER LAWN MOWER BLADE 25 HIGH LIFT NOTCH 2.50 W. 13 GRASSHOPPER LAWN MOWER PARTS. 320254 BLADE FOR GRASSHOPPER LAWN MOWER BLADE 25 HIGH LIFT NOTCH 3.0 W. 9 GRASSHOPPER LAWN MOWER PARTS. 320234 BLADE FOR GRASSHOPPER LAWN MOWER BLADE 15, HIGH LIFT NOTCH - 2.50 W. Amazon.com: grasshopper mower deck parts 1-16 of over 1,000 results for "grasshopper mower deck parts" Price and other details may vary based on product size and color. 8TEN Deck Spindle Assemblies for Grasshopper 52 61 inch 9852 9861 Mower 623763 2 Pack. 4.7 out of 5 stars 25. $125.95 $ 125. 95. Get it as soon as Thu, Feb 17.

FrontMount™ Mower Decks | Grasshopper Mower Grasshopper's exclusive PowerFold® deck lift/electric height adjustment combines the ease of electric height adjustment with effortless deck lifting, allowing operators to control both functions with a single switch. Deck folds up for an overall length as short as 6.5 feet (2.0 m), including a collector. Grasshopper Parts | Up to 60% off Dealer Prices ... Save up to 60% off dealer pricing on parts for Grasshopper Tractors. Parts ship within 24 hours. Visit TractorJoe today! OEM Grasshopper Mower Parts for MidMount and Frontrunner ... Grasshopper Parts OEM Grasshopper Mower 120048 HD Wheel Bearing. $13.00. ... $18.00. OEM Grasshopper Mower 425900 Red Reflector. $2.05. Grasshopper Mower 390024 Deck RH Gearbox Genuine OEM 6052 6061 9061 9852 Decks. $265.00. OEM Grasshopper 183827 Kubota Ignition New Style Key Switch. $62.50. OEM Grasshopper Mower 122044 1" ID PTO Pillow Block ... Grasshopper Parts at Jack's - Lawn Mower Parts Grasshopper Parts. Grasshopper Parts: We carry Grasshopper commercial mower parts and accessories including replacement blades, filters, spindles, pulleys, wheels, and much more. Select a category below to find the part you need. Commercial Landscapers and Dealers can get Extra Savings on Parts!

Grasshopper 390024 Mower Rh Gearbox Decks - Lampaac Grasshopper Right Angle CCW Gearbox for 1991-1996 Front Mount 9048, 9052, 9061. New. USA Seller. Fixed Price. $ 249.99. +$0.00 shipping. 5 Offers To Buy Grasshopper 390024 Mower Deck Prices From $169.99 To $257.19. MPN # 390024 Made By Grasshopper. Grasshopper Lawn Mower Parts | Lawnmower Pros No matter what Grasshopper mower you own, with a wide range of Grasshopper lawnmower parts available at LawnMowerPros.com you'll easily find necessary parts to fix up your machine. Our selection of replacement parts for Grasshopper lawn mowers includes belts, tires, tubes and wheels, blades, chains as well as numerous Grasshopper engine parts ... Grasshopper 9052 Parts Diagrams - Lawn Mower Parts Parts Lookup - Enter a part number or partial description to search for parts within this model. There are (7) parts used by this model. Found on Diagram: Deck Mower pirnaer-osterzauber.de › craftsman-mower-deck-partspirnaer-osterzauber.de Drive Belt. , 46 in. Sears Craftsman LT2000 42" Lawn Mower Deck Parts Rebuild Kit 144959 134149. Description: Craftsman Lawn Tractor Deck Parts Diagram | Tractor Parts Diagram throughout Craftsman Mower Deck Parts Diagram, image size 750 X 499 px, and to view image details please click the image. 247.

Grasshopper Parts Diagram 9861 Deck Mower Assembly 2001

Grasshopper Parts Diagram 9861 Deck Mower Assembly 2001

Grasshopper Mower Deck Assembly Parts Lookup by Model Grasshopper Mower Deck Assembly Parts Lookup by Model Search for Your Grasshopper Model Enter your Grasshopper model number below. Click the Search Button to See More Results. Parts lookup for Grasshopper power equipment is simpler than ever. ... Grasshopper Mower Deck Assembly Parts Diagrams 6372. 9048. 9052. 9061.

The Mower Shop, Inc.- Grasshopper Lawn Mower Parts Diagrams

The Mower Shop, Inc.- Grasshopper Lawn Mower Parts Diagrams

Grasshopper Lawnmower Parts & Accessories for Sale - eBay Grasshopper OEM Mower Part 603150 Brake Pad Kit. $38.89 New. Grasshopper 285032 Damper With Ball Socket - Reverse. $40.78 New. Grasshopper Mower Pump Cooling Fan Model 320856. 4.8 out of 5 stars. (15) Total Ratings 15, $21.75 New.

The Mower Shop, Inc.- Grasshopper Lawn Mower Parts Diagrams

The Mower Shop, Inc.- Grasshopper Lawn Mower Parts Diagrams

Index of Parts Diagrams for Grasshopper Decks- FrontMount ... Genuine OEM Grasshopper® Mower Parts Diagrams Index of Parts Diagram Pages for FrontMount & MidMount Mower Decks. Click / Tap here to learn the year your Grasshopper FrontMount Deck ... if the mower or deck serial # starts with: 1985. 85XXXX. 1986. 86XXXX. 1987. 27XXXX. 1988. 28XXXX. 1989. 29XXXX. 1990. 30XXXX. 1991. 31XXXX. 1992. 32XXXX. 1993 ...

Buy Grasshopper Mower MaxLife Belt, Designed to Specific ...

Buy Grasshopper Mower MaxLife Belt, Designed to Specific ...

Grasshopper 9052 Parts Diagram for Deck Mower Grasshopper 9052 Parts Diagram for Deck Mower. Order Status. Get Support. 1-877-737-2787. Hours of Operation. M-F 9AM-6PM ET. Sat 9AM-5PM ET. Contact Us ». Name.

61

61" Deck Assembly 226V - Grasshopper Mower Parts 2011The ...

Genuine OEM Grasshopper® Mower Parts Diagrams Index of Parts Diagram Pages for Front Mount Tractors. Click / Tap here to learn the year your Grasshopper model was manufactured, using your unit's serial number (for all tractors, mowers, & decks). Click / Tap here to learn where to locate your FrontMount Tractor's. serial & model numbers.

Choose the right replacement mower parts for your Grasshopper ...

Choose the right replacement mower parts for your Grasshopper ...

edpiu.it › nnlgxedpiu.it 1 day ago · However, bypassing method for the mower deck safety switch and the PTO switch is the same. 2823782001. • Maintain lawn mower. Oct 2, 2012 — So is EGO suggesting, by the lack of these replacement parts, that its time to buy a new mower? Starts okay. [email protected] 5Ahr battery and I needed 2 to get through my lawn. rowdyplace, Mar 27 ...

TRUE ZEROTURN™ MOWERS

TRUE ZEROTURN™ MOWERS

MidMount™ Mower Decks | Grasshopper Mower Grasshopper MidMount™ mower decks offer superior strength and durability with minimal service. Coupled with a deep deck design that enhances airflow, these qualities provide a superior cut while reducing worries about downtime and repairs.

John Deere HD45 & HD75 Hydrostatic Commercial Walk-Behind ...

John Deere HD45 & HD75 Hydrostatic Commercial Walk-Behind ...

echte-freude-schenken.de › mower-deck-spindlesMower deck spindles - echte-freude-schenken.de Mar 10, 2022 · Simplicity Mower Deck Spindle - 9 images - simplicity 2690474 javelin 22hp b s rider w 50 mower, belt mower belt kelva belt deck belt lawn mower deck,cub cadet mower deck parts diagram here you are at our site today we are excited to declare we have found an incredibly interesting content to be reviewed that is cub cadet mower deck parts ...

Invacare® Pronto™ M41 Series

Invacare® Pronto™ M41 Series

alexander-goers.de › mower-deck-swapPage Not Found Riding Lawn Mower Deck Swap. 42" Fabricated 4. 4-mm) cut-height increments, and an onboard deck-leveling system. Also… free. Sears Craftsman LT2000 42" Lawn Mower Deck Parts Rebuild Kit 144959 134149. The tractor and mower deck came from a friend and the mower deck metal was getting pretty thin. Easy token swap, with liquidity providers earnings.

900D 1.3L : Grasshopper Mower

900D 1.3L : Grasshopper Mower

Wiring Diagram For Grasshopper 725 - schematron.org Parts, Homemade Mower Deck, Grasshopper Zero Turn Manual, Grasshopper Deck Shield, Grasshopper Deck Belt Diagram, Grasshopper Mower Logo, 4 Channel Amp 2 Speakers 1 Sub Wiring Diagram. Find great deals for Wiring Harness Fits Grasshopper k k k Models ZTR Lawn Mower.

900D 1.3L : Grasshopper Mower

900D 1.3L : Grasshopper Mower

Grasshopper Mower 725 | Farm, Lawn ... - NAPA Auto Parts 2001 Grasshopper Mower 725. 2000 Grasshopper Mower 725. 1999 Grasshopper Mower 725. 1998 Grasshopper Mower 725. 1997 Grasshopper Mower 725. 1996 Grasshopper Mower 725. 1995 Grasshopper Mower 725. 1994 Grasshopper Mower 725. 1993 Grasshopper Mower 725.

Transmission Drive Belt Hayter RS17/102H, RS82H, AL514882 Mower

Transmission Drive Belt Hayter RS17/102H, RS82H, AL514882 Mower

Mower Parts Diagrams - The Mower Shop, Inc Find your Grasshopper Lawn Mower OEM replacement parts with The Mower Shop, Inc. online Grasshopper parts diagrams. If you can't find your model's diagram or serial numbers, call us toll-free and we'll be glad to help you find your parts

Grasshopper Lawn Mower Parts Diagrams | Lawn mower parts ...

Grasshopper Lawn Mower Parts Diagrams | Lawn mower parts ...

Grasshopper Lawn Mower Decks for sale - eBay 4 out of 5 stars. (1) 1 product ratings - OEM Grasshopper Mower 603973 Deck Wheel Assembly with Bearings. $81.00. $25.00 shipping.

Grasshopper Mower 390024 Deck RH Gearbox Genuine OEM 6052 ...

Grasshopper Mower 390024 Deck RH Gearbox Genuine OEM 6052 ...

forzaitalia-trentinoaltoadige.it › pwmsrforzaitalia-trentinoaltoadige.it 1 day ago · Whether your mower is a zero-turn model or the"42 craftsman mower deck parts" & marketplace (483) Only (1) In-store: set your location. Craftsman Lawn Mower 247. Jun 19, 2018 · Mtd 13al78st299 247288861 2012 Parts Diagram For Mower Deck 46 Inch throughout size 1180 X 1527. hello I have a craftsman riding mower. Mower Deck Repair Parts Diagram.

Rondsel Sitrex - 600335

Rondsel Sitrex - 600335

Choose the right replacement mower parts for your ... Here are several reasons to invest in quality OEM replacement parts for your Grasshopper zero-turn mower. Replacement Mower Blades Grasshopper GrassMax MARBAIN® blades are the only replacement mower blades in the world manufactured to meet the precise design specifications incorporated into every Grasshopper DuraMax® deck.

Mower Assembly Model 3461 Deck, 2009- Grasshopper Mower Parts ...

Mower Assembly Model 3461 Deck, 2009- Grasshopper Mower Parts ...

Grasshopper Lawn Mower Parts Diagrams | Lawn mower parts ... May 28, 2015 - The Mower Shop, Inc. - Grasshopper Lawn Mower Parts Diagrams

GRASSHOPPER 725 Lawn Mowers Outdoor Power Auction Results ...

GRASSHOPPER 725 Lawn Mowers Outdoor Power Auction Results ...

52-, 61- and 72-inch DuraMax® Decks | Grasshopper Mower DECK SIZES. 51". 61". 72". Extra-deep, 5.5-inch decks are fabricated from heavy-gauge formed steel with a reinforced anvil edge for exceptional durability. Specially designed cutting chambers enhance airflow for better cut quality. Deck easily converts from side discharge to optional mulching or vacuum collection. Sentry™ spindles with ...

Mower Assembly Model 3452 Deck, 2006- Grasshopper Mower Parts ...

Mower Assembly Model 3452 Deck, 2006- Grasshopper Mower Parts ...

K&T Parts House - Grasshopper Mower Parts - Belts OEM ... Deck Belt: Deck Belt. Replaces Grasshopper 382034. 5/8" x 135-1/2". Fits 3452 & 9852. Wrapped, aramid cord construction.

322D Kubota Diesel Powered Mower | grasshoppermowersguide

322D Kubota Diesel Powered Mower | grasshoppermowersguide

Genuine OEM Grasshopper® Mower Parts Diagrams Genuine OEM Grasshopper® Mower Parts Diagrams 223 / 227 • M161 Deck 2008. Click On a Part Number Below for Details. NOTE: If the part number you select is not linked to the shopping cart, call toll-free 866-698-4070 for availability.

White Outdoor LT-145 (132-736G190) - White Outdoor 42

White Outdoor LT-145 (132-736G190) - White Outdoor 42" Lawn ...

How do you tell what year a Grasshopper mower is? Click to see full answer In respect to this, how do I tell what year my lawn mower is? By locating the serial number tag on your machine, you can easily determine your mower's age. If you have the owner's manual for your mower, you can also check the date printed on the inside of the manual.This date should be one year after the mower's manufacture date.

Grasshopper Riding Mower Mower Deck Operator's Manual and Parts List USA  Kansas | eBay

Grasshopper Riding Mower Mower Deck Operator's Manual and Parts List USA Kansas | eBay

The Mower Shop, Inc.- Grasshopper Lawn Mower Parts Diagrams

The Mower Shop, Inc.- Grasshopper Lawn Mower Parts Diagrams

Gravely 992310 (001000 - 001999) PM144Z, 19hp Kawasaki, 44 ...

Gravely 992310 (001000 - 001999) PM144Z, 19hp Kawasaki, 44 ...

TMP 255/1-S - Spareparts / Accessories - Einhell Service

TMP 255/1-S - Spareparts / Accessories - Einhell Service

Riemspanner passend voor Perfect DR 250

Riemspanner passend voor Perfect DR 250

Replacing mower deck belt with my feet

Replacing mower deck belt with my feet

GRASSHOPPER 729 Equipment For Sale - 43 Listings | TreeTrader.com

GRASSHOPPER 729 Equipment For Sale - 43 Listings | TreeTrader.com

SPARE PARTS LIST FOR IS15 - IS20 RANGE OF SPUR GEAR OPERATORS ...

SPARE PARTS LIST FOR IS15 - IS20 RANGE OF SPUR GEAR OPERATORS ...

John Deere GREAT DANE CHARIOT & CHARIOT LX -PC9487 61 ...

John Deere GREAT DANE CHARIOT & CHARIOT LX -PC9487 61 ...

Original Operators Manual & Parts List Grasshopper Mower Deck Models 6372 &  9272 | eBay

Original Operators Manual & Parts List Grasshopper Mower Deck Models 6372 & 9272 | eBay

Grasshopper Mower 1992 Model 718V Operators Manual & Parts List 172183-0492  | eBay

Grasshopper Mower 1992 Model 718V Operators Manual & Parts List 172183-0492 | eBay

KUKJE BM60 Ameriquip Branson ETC Parts Catalogue

KUKJE BM60 Ameriquip Branson ETC Parts Catalogue

PARTS MANUAL WYS48FX730VL WYS48FX730VLCA WYS52FX730V ...

PARTS MANUAL WYS48FX730VL WYS48FX730VLCA WYS52FX730V ...

Troubleshooting Manual | grasshoppermowersguide

Troubleshooting Manual | grasshoppermowersguide

Page 1 THE GRASSHOPPER COMPANY Moundridge, Kansas | Manualzz

Page 1 THE GRASSHOPPER COMPANY Moundridge, Kansas | Manualzz

MTD 46

MTD 46" to 54" Deck Parts (3 Blades) | Lawnmower Pros

MTD 134T696H190 38

MTD 134T696H190 38" Lawn Tractor Hydrostatic LT-165 (1994 ...

SOLVED: I am needing to replace the drive belt on my - Fixya

SOLVED: I am needing to replace the drive belt on my - Fixya

Grasshopper 721 Manuals | ManualsLib

Grasshopper 721 Manuals | ManualsLib

MTD 135-013-190 FR-180 (1995) Parts Diagram for Mower Deck ...

MTD 135-013-190 FR-180 (1995) Parts Diagram for Mower Deck ...

Amazon.com : Grasshopper Mower Ball Bearing, Reduce ...

Amazon.com : Grasshopper Mower Ball Bearing, Reduce ...

Amazon.com : Grasshopper Deck Carrier and Tail Wheel Assembly ...

Amazon.com : Grasshopper Deck Carrier and Tail Wheel Assembly ...

322D Kubota Diesel Powered Mower | grasshoppermowersguide

322D Kubota Diesel Powered Mower | grasshoppermowersguide

0 Response to "43 grasshopper mower deck parts diagram"

Post a Comment

Iklan Atas Artikel

Iklan Tengah Artikel 1

Iklan Tengah Artikel 2

Iklan Bawah Artikel