Iklan 300x250

43 mazda tribute parts diagram

Constructed to meet your vehicle's specific emissions requirements Radial flow concept allows for an even distribution of the gas flow in the converter for the optimal conversion of harmful gases. $720.30 - $820.03. Bosal® Replacement Exhaust Kit. 2. # 1558366628. Mazda Tribute 2003, Replacement Exhaust Kit by Bosal®.

Description: Mazda Engine Diagram Mazda Mpv Engine Diagram Mazda Wiring pertaining to 2004 Mazda Tribute Engine Diagram, image size 450 X 300 px, and to view image details please click the image.. Here is a picture gallery about 2004 mazda tribute engine diagram complete with the description of the image, please find the image you need.

Fuel and Emission Systems Parts. Change vehicle. The engine in your 2008 Mazda Tribute requires three basic things to run: fuel, air, and fire. Whether gas is delivered via carburetor, throttle body, or fuel injector the proper fuel mixture is critical to a smooth running engine. From idle to wide open throttle, modern engines are able to ...

Mazda tribute parts diagram

Mazda tribute parts diagram

Where can I get a diagram of the passenger side door for a 2002 Mazda Tribute? - Answered by a verified Mazda Mechanic. We use cookies to give you the best possible experience on our website.

Mazda. Free Wiring Diagrams in 2002 Mazda Tribute Engine Diagram, image size 1000 X 706 px. Honestly, we also have been noticed that 2002 mazda tribute engine diagram is being one of the most popular subject at this moment. So that we attempted to get some good 2002 mazda tribute engine diagram picture for your needs.

Buy replacement parts for 2002 Mazda Tribute at Go-Parts. Call (877) 321-PART today for cheap/discount prices!

Mazda tribute parts diagram.

The 2004 Mazda Tribute comes in 3 configurations costing $18,797 to $25,122. See what power, features, and amenities you'll get for the money.

Please note: Not all of the parts featured on this website are available for sale. Please refer to our shipping policy at the bottom of this page for more details.

1999 dodge truck parts diagram electrical wiring diagrams rh wiringforall today Dodge Caravan Parts Diagram Dodge Ram Parts Diagram. img 1 E2 11. We collect a lot of pictures about 2001 Mazda Tribute V6 Engine Diagram. and finally we upload it on our website. Many good image inspirations on our internet are the best image selection for 2001 ...

Looking for front end parts diagram for 2006 mazda tribute. The ABS light stays on in my 2006 mazda tribute, canadian tire put on hoist and showed that there is a compressed part looon the front end axle that is now separated from the front right axle. where can I get a parts diagram for this problem. Posted by armstrong_ka on Sep 13, 2009.

Get the best Genuine 2005 Mazda Tribute Parts. Authentic Mazda parts were designed with your vehicle in mind, so you know you're getting quality every time. Shopping with Mazda Car Parts Online means you're becoming a part of our time-honored tradition of uncompromising customer service. You can find us in Cincinnati, OH.

Unlimited access to your 2003 Mazda Tribute manual on a yearly basis. 100% No Risk Guarantee. We'll get you the repair information you need, every time, or we'll refund your purchase in full. This manual is specific to a 2003 Mazda Tribute. RepairSurge is compatible with any internet-enabled computer, laptop, smartphone or tablet device.

Shipping providers are experiencing delays due to heavy volume and service disruptions. Products may take longer to arrive than normal. If you have any questions, please email us or call our customer service team at 781-917-1562

OEM Mazda door components are made of the best materials available to withstand long term wear and tear. If you need to fix any of the door components or replace a piece of trim, you want to use OEM Mazda parts to ensure that the replacement part you get is an exact fit. Be sure you shop at RealMazdaParts.com for trim that fits perfectly.

2005 Mazda Tribute Auto Parts from AutoZone.com. We provide the right products at the right prices.

The Mazda Tribute parts that make up the suspension system make for a smooth and responsive ride. It has an independent strut front suspension with a stabilizer bar and coil springs. It also has a multi-link rear suspension with coil springs. The 4 wheel anti-lock brakes have 2 ventilated discs, and electronic brake distribution.

Order your OEM Mazda replacement manual transmission parts today. Pedal, Alloy Brake And Clutch. Part Number: BHN1-V9-097. Other Names: Pedals Brake Clutch. More Names. Description: Add a powerful look and help improve pedal grip in your Mazda with these high quality aluminum Alloy Pedals and Footrest.

46 Mazda Tribute Workshop, Owners, Service and Repair Manuals. We have 46 Mazda Tribute manuals covering a total of 10 years of production. In the table below you can see 0 Tribute Workshop Manuals,0 Tribute Owners Manuals and 6 Miscellaneous Mazda Tribute downloads. Our most popular manual is the Tribute DX 4WD V6-3.0L DOHC (2002) .

Mazda Genuine Parts List Kaca Dpn Mazda 323 Protege ...

Mazda genuine parts list kaca dpn mazda 323 protege ...

Mazda Tribute Workshop Service Repair Manual 2001-2006 (EN-DE-FR) (6,000+ Pages, Searchable, Printable, Indexed, PDF) 2001-2004 MAZDA TRIBUTE/ESCAPE Service Manual DOWNLOAD. 2001-2006 Mazda Tribute Factory Service Repair Manual. Mazda Tribute 2001-2007 Full Service Repair Manual.

USA, 2003 TRIBUTE, BODY EXTERIOR TRIM, 6330A - SUNROOF ...

Usa, 2003 tribute, body exterior trim, 6330a - sunroof ...

Mazda Parts Catalog. Cannot find your item listed on this site? We have another site with a large selection of Genuine Mazda parts. Click below to go to our full catalog of Genuine Mazda parts. This is another Med Center Mazda site but with more Mazda Parts.

USA, 2004 TRIBUTE, GASOLINE-ENGINE 4-CYLINDER TRANSMISSION ...

Usa, 2004 tribute, gasoline-engine 4-cylinder transmission ...

Mazda Tribute The Mazda Tribute made its debut at the 2000 Los Angeles Auto Show as a compact crossover SUV, a segment pioneered by the Toyota RAV4 in 1994. Its conservative styling resembled and eventually somewhat replaced the Mazda Navajo, a rebadged two-door Ford Explorer which was retired in 1994.

Engine Coolant Hose (Upper Hose) | Mazda Tribute (2001-2008 ...

Engine coolant hose (upper hose) | mazda tribute (2001-2008 ...

RockAuto ships auto parts and body parts from over 300 manufacturers to customers' doors worldwide, all at warehouse prices. Easy to use parts catalog.

Mazda Tribute Workshop Service Repair Manual 2001-2006 En de fr - PDF  Download

Mazda tribute workshop service repair manual 2001-2006 en de fr - pdf download

The first Mazda Tribute featured a 130-horsepower 2.0-liter inline-four engine, and it offered an option for a more powerful 200-horsepower 3.0-liter V6 engine. Transmission was a five-speed manual, and there was an option for a four-speed automatic.

Instrument Panel for 2002 Mazda Tribute | Mazda Parts Factory

Instrument panel for 2002 mazda tribute | mazda parts factory

SOURCE: looking for front end parts diagram for 2006 mazda tribute buy manual, clean or replace speed sensor at wheels. Posted on Sep 13, 2009

Filters for 2001 Mazda Tribute | Open Road Mazda Parts

Filters for 2001 mazda tribute | open road mazda parts

Mazda Tribute Parts | Mazda Tribute Accessories 2001 2002 2003 2004 2005 2006. Med Center Mazda only sells Genuine Mazda OEM Mazda Tribute Parts and OEM Mazda Tribute ...

Pump & Hoses for 2005 Mazda Tribute | Mazda-Parts

Pump & hoses for 2005 mazda tribute | mazda-parts

RockAuto ships auto parts and body parts from over 300 manufacturers to customers' doors worldwide, all at warehouse prices. Easy to use parts catalog. 2004 MAZDA TRIBUTE 3.0L V6 Parts | RockAuto

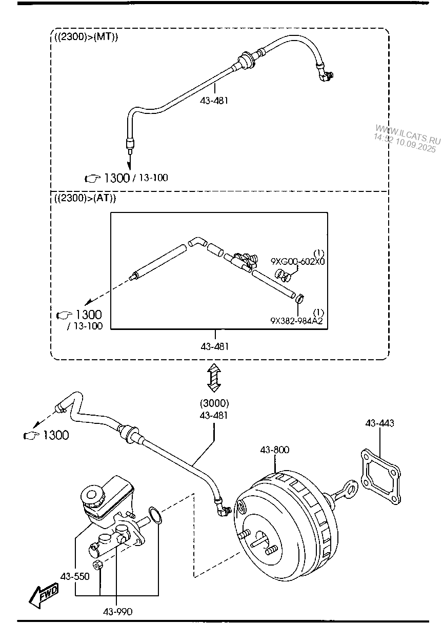
BRAKE MASTER CYLINDER & POWER BRAKE MAZDA TRIBUTE

Brake master cylinder & power brake mazda tribute

To make sure your vehicle stays in top shape, check its parts for wear and damage at regular intervals and replace them in time. When you are in need of a reliable replacement part for your 2005 Mazda Tribute to restore it to 'factory like' performance, turn to CARiD's vast selection of premium quality products that includes everything you may need for routine maintenance and major repairs.

Used 2001 Mazda Tribute DX in Everett, WA - Corn Motors

Used 2001 mazda tribute dx in everett, wa - corn motors

MSRP $330.34. $237.80. Add to Cart. Exhaust Tip. Part Number: CG36-V4-260. Other Names: Exhaust Finisher. More Names. Description: Complete the sporty look of your MAZDA5 with this chrome tailpipe finisher. More Info.

Mazda OEM Europe LHD EPC2 Parts Catalog 02/2018

Mazda oem europe lhd epc2 parts catalog 02/2018

Get the best Genuine 2008 Mazda Tribute Parts. Authentic Mazda parts were designed with your vehicle in mind, so you know you're getting quality every time. Shopping with Mazda Car Parts Online means you're becoming a part of our time-honored tradition of uncompromising customer service. You can find us in Cincinnati, OH.

2002 Mazda Tribute Alternator Location - Mazda Cars

2002 mazda tribute alternator location - mazda cars

Mazda TRIBUTE EP 2001-02 Mazda Manual Transmission Case

Mazda tribute ep 2001-02 mazda manual transmission case

Intermediate Shaft

Intermediate shaft

Differential for 2005 Mazda Tribute | RealMazdaParts.com

Differential for 2005 mazda tribute | realmazdaparts.com

2008 Mazda Tribute - Shock Absorber

2008 mazda tribute - shock absorber

MAZDAAUDIO SYSTEMS (ANTENNA & SPEAKER)

Mazdaaudio systems (antenna & speaker)

Car Mazda Tribute Starter solenoid Wiring diagram, car ...

Car mazda tribute starter solenoid wiring diagram, car ...

Rdash Dash Kit Decal Trim Compatible with Mazda Tribute 2005-2006 - Carbon  Fiber 3D (Red)

Rdash dash kit decal trim compatible with mazda tribute 2005-2006 - carbon fiber 3d (red)

MAZDA OEM 08-11 Tribute Front Bumper-Inner Bracket Right ...

Mazda oem 08-11 tribute front bumper-inner bracket right ...

2003 Mazda Tribute OEM Suspension Parts | Shocks, Struts ...

2003 mazda tribute oem suspension parts | shocks, struts ...

Engine Parts for 2008 Mazda Tribute | RealMazdaParts.com

Engine parts for 2008 mazda tribute | realmazdaparts.com

Mazda Tribute 2001-2004 Automatic Gearbox , Without Armrest Console  Interior BD Dash Trim Kit

Mazda tribute 2001-2004 automatic gearbox , without armrest console interior bd dash trim kit

2005 2006 Mazda Tribute - Side Mount

2005 2006 mazda tribute - side mount

Exhaust Pipe

Exhaust pipe

MAZDA TRIBUTE 2002 Silver VIN: 4F2YU07B22KM57592 Lot ...

Mazda tribute 2002 silver vin: 4f2yu07b22km57592 lot ...

2005-2006 Mazda Tribute Engine Cradle ZZC1-34-800 | Mazda-Parts

2005-2006 mazda tribute engine cradle zzc1-34-800 | mazda-parts

Haynes Car Manual For Ford Escape / Mazda Tribute 2001-2017 - 36022

Haynes car manual for ford escape / mazda tribute 2001-2017 - 36022

2005 Mazda Tribute i (4 Cyl 2.3L -) Water Pump

2005 mazda tribute i (4 cyl 2.3l -) water pump

FRONT SUSPENSION MECHANISMS MAZDA TRIBUTE

Front suspension mechanisms mazda tribute

Engine Parts for 2003 Mazda Tribute | RealMazdaParts.com

Engine parts for 2003 mazda tribute | realmazdaparts.com

Radiator & Components for 2003 Mazda Tribute | Open Road ...

Radiator & components for 2003 mazda tribute | open road ...

Radiator & Components for 2004 Mazda Tribute | Open Road ...

Radiator & components for 2004 mazda tribute | open road ...

Engine Coolant Hose (Upper Hose) | Mazda Tribute (2001-2008 ...

Engine coolant hose (upper hose) | mazda tribute (2001-2008 ...

Amazon.com: Go-Parts - for 2008 - 2011 Mazda Tribute Radiator ...

Amazon.com: go-parts - for 2008 - 2011 mazda tribute radiator ...

Details about 2001-2010 MAZDA TRIBUTE PARTS LIST MANUAL CATALOG!!!!!!

Details about 2001-2010 mazda tribute parts list manual catalog!!!!!!

Where is the crankshaft sensor located on a 2003 Mazda ...

Where is the crankshaft sensor located on a 2003 mazda ...

Jual seal busi ford escape 3.0 v6 seal busi mazda tribute 3.0 ...

Jual seal busi ford escape 3.0 v6 seal busi mazda tribute 3.0 ...

Mazda 3 Parts Manual Catalog 2004 - DOWNLOAD

Mazda 3 parts manual catalog 2004 - download

POWER STEERING SYSTEM MAZDA TRIBUTE

Power steering system mazda tribute

Where can i download the diagram of an automatic transmission ...

Where can i download the diagram of an automatic transmission ...

Fuse box location and diagrams: Mazda Tribute (2001-2007)

Fuse box location and diagrams: mazda tribute (2001-2007)

0 Response to "43 mazda tribute parts diagram"

Post a Comment

Iklan Atas Artikel

Iklan Tengah Artikel 1

Iklan Tengah Artikel 2

Iklan Bawah Artikel