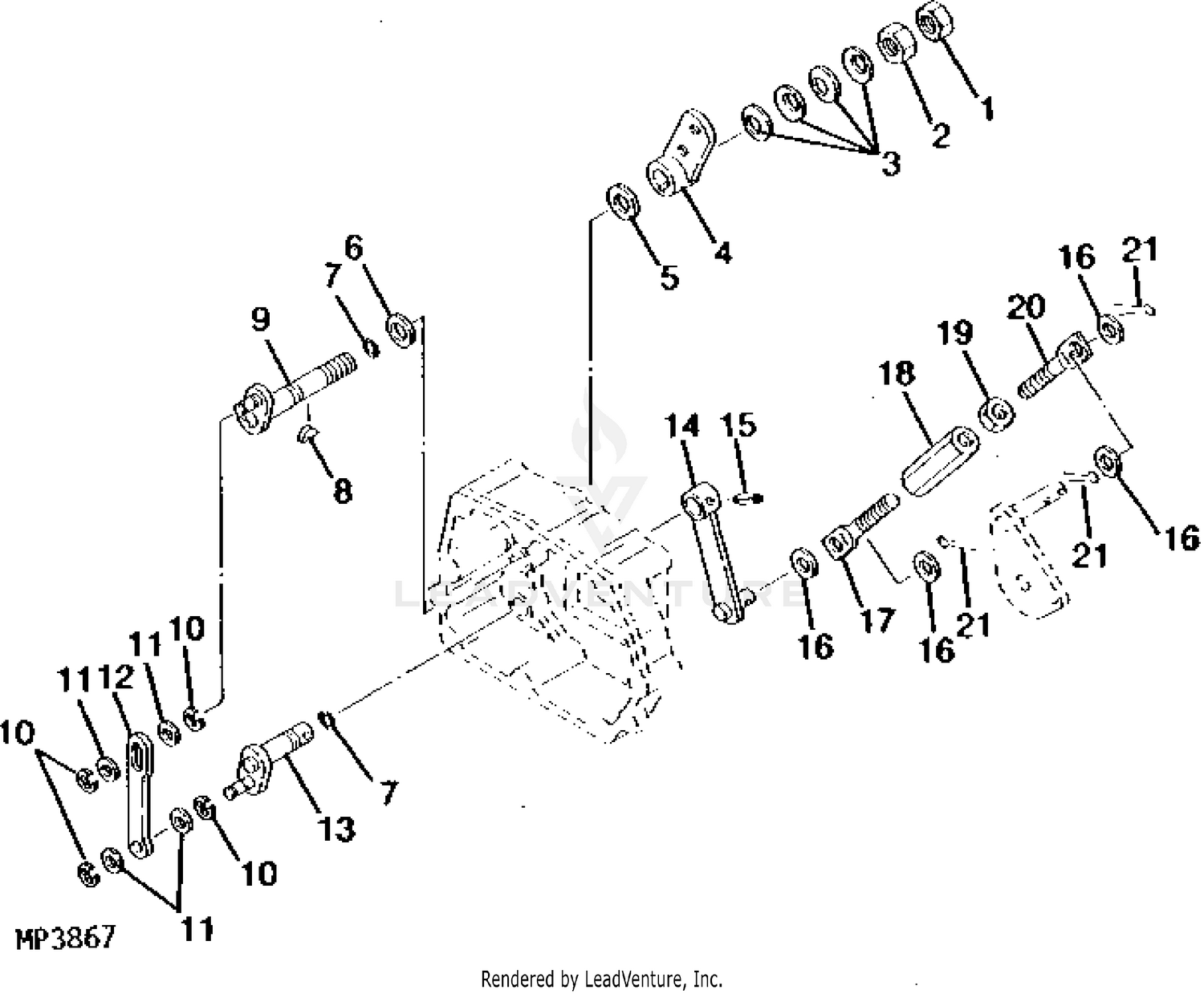
43 john deere 755 parts diagram
john deere model: 755, 855 & 955 sin 100,001 & up this is a manual produced by jensales inc. without the authorization of john deere or it's successors. john deere and it's successors are not responsible for the quality or accuracy of this manual. trade marks and trade names contained and used herein are those of others,
The best way to find wiring diagrams for John Deere products is to visit the technical information bookstore at the John Deere website. The two search options provided at the site are component technical manuals and technical manuals. Users can search for specific manuals that include diagnostic information.
John Deere Decals and Labels. 11,521 Parts. Give your John Deere new life with brand new OEM John Deere decals and labels. Green Farm Parts supplies thousands of John Deere decals and labels for all types of green and yellow equipment. If you know your part number, enter it into our search bar.
John deere 755 parts diagram
John Deere Model 322 Lawn and Garden Tractor Parts -
We would like to show you a description here but the site won’t allow us.
[GZ_0298] John Deere L130 Steering Parts Diagram View Diagram Schematic ... 31 John Deere 850 Tractor Parts Diagram - Wire Diagram Source Information. John Deere 345 Parts Diagram — UNTPIKAPPS. ... John Deere 755 Wiring Diagram. John Deere 420 Engine Diagram - Automobile Components Parts.
John deere 755 parts diagram.
John Deere Tractors - Parts & Manuals. Below are listed all of the John Deere tractor parts, manuals and informative features available on our site. Simply click on any of the JD tractors links below to further explore our offerings. Allis Chalmers. Avery.
Quick Reference Parts uide 2 B&J Auto Parts which is headquartered in Romania, is a family business that was founded in 1993 and has active offices in Bucharest - Romania and Dubai - UAE. About us Our field of activity includes diesel engine parts particularly Diesel Engine Injection Pumps and Components. We are one of the largest supplier of ...
John Deere » JD750; JD750 ... Hoye Tractor Parts Inc 2099 US Hwy 287 E Iowa Park, TX 76367 (940)592-0181; Email Us; Categories . Yanmar Tractor Parts; Deere Tractor Parts; Generic Parts; Tech Articles; Yanmar Research; Customer Service . Home; About Us;
We also offer a comprehensive free parts search using illustrated diagrams. We have been in business since 1945 and have been recognized as leaders in the power equipment industry for decades. We are a full-service John Deere dealer with world-class after sale support in parts and service. ... We have a huge inventory of John Deere Parts in ...

All states ag parts parts asap i&t shop manual compatible with john deere 755 755 856 856 655 655 655 756 756 855 855 955 955
0 Response to "43 john deere 755 parts diagram"
Post a Comment