Iklan 300x250

43 cub cadet lt1045 carburetor diagram

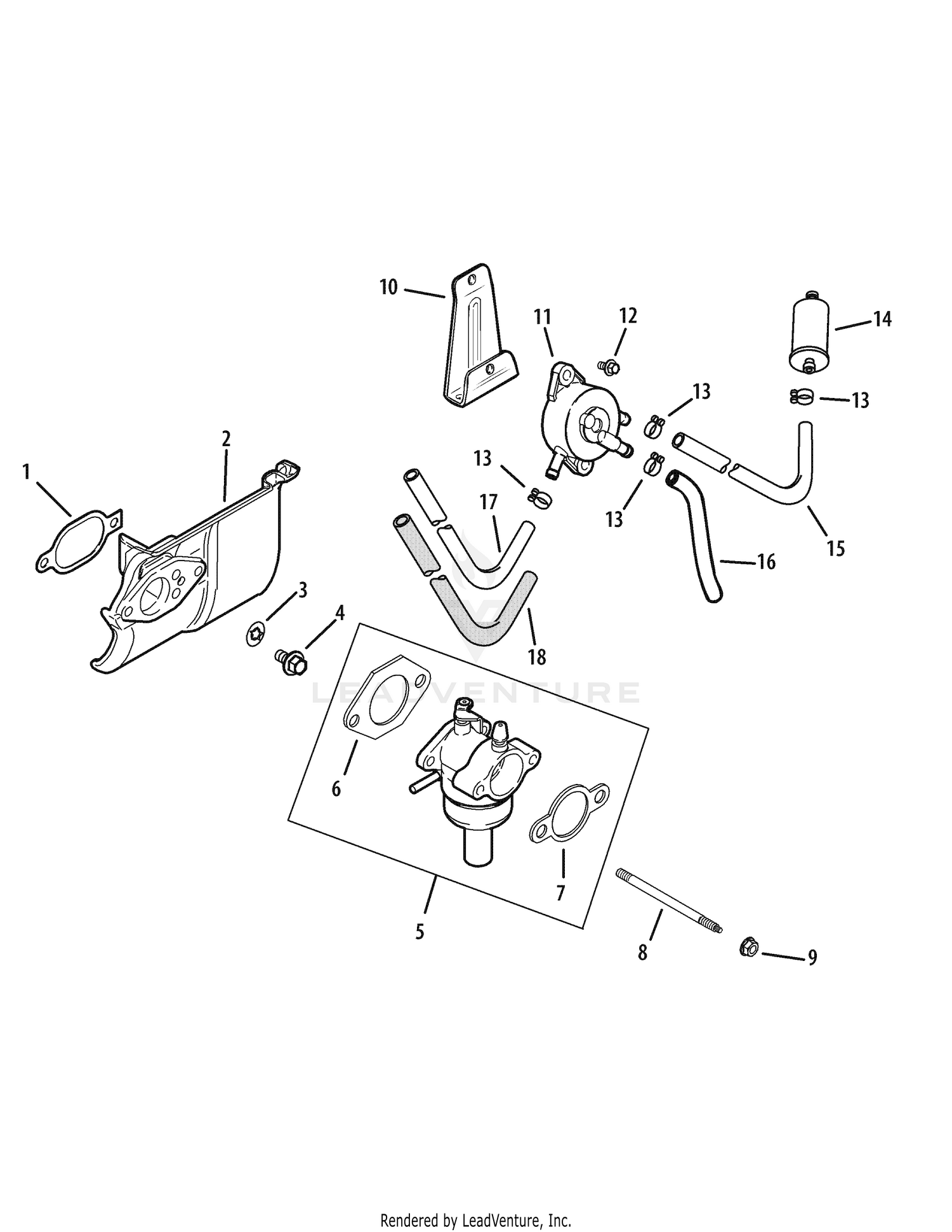
Cub Cadet Lt1045 Carburetor Diagram The engines on Cub Cadet Series tractors are equipped with a fixed main jet carburetor. Carburetors are equipped with a idle speed adjustment screw and . Garden product manuals and free pdf instructions. Find the user manual you need for your lawn and garden product and more at ManualsOnline.

12 Nov 2013 — Thank you for purchasing a Cub Cadet Lawn Tractor. ... All information in this manual is relative to the most recent ... Cap, Fuel Carb.56 pages

CUB CADET LLC, P.O. BOX 361131 CLEVELAND, OHIO 44136-0019. Printed In USA ... Models LT1042. LT1045. LT1046. LT1050. Form No. 769-00578I. (February 1, 2008) ...52 pages

Cub cadet lt1045 carburetor diagram

Cub cadet lt1045 carburetor diagram

Step by Step!In today's video, I show you How to Remove the Carburetor on a Cub Cadet Snow Blower.These Cub Cadets have a couple different designs, this unit...

Engine Disclaimer: The engine horsepower information is provided by the engine manufacturer to be used for comparison purposes only. See your local Cub Cadet ...

You can easily find a parts diagram by clicking on the tab at the top of the page that says "Cub Cadet Parts & Service Lookup". Enter in any 12 HP Cub Cadet Tractor, ie: 122, 125, 127, 129, etc. Go to the motor section breakdown, and search for the Carburetor. Once you find that, there are the Service Kits to include 25-767-03-S Float Kit.

Cub cadet lt1045 carburetor diagram.

Cub Cadet Lt1045 Carburetor Diagram. 21.09.2018 21.09.2018 1 Comments on Cub Cadet Lt1045 Carburetor Diagram. Hi there, Save hours of searching online or wasting money on unnecessary repairs by talking to a 6YA Expert who can help you resolve this. Garden product manuals and free pdf instructions. Find the user manual you need for your lawn and ...

MOTOKU Carburetor for Cub Cadet LT1045 LT1042 LTX Rider 19HP Courage Engine 22 HP SV470 SV480 Motor Riding Lawn Mower Carb for Toro 74360 74363 74380 TimeCutter Z4200 Z4220 Visit the MOTOKU Store. 4.4 out of 5 stars 116 ratings. Amazon's Choice highlights highly rated, well-priced products available to ship immediately. ...

Buy Genuine OEM Cub Cadet parts for your Cub Cadet LT1040 Tractor 13AX10CG709 13AX10CG710 13BX10CG710 and ship today! Huge in-stock inventory of OEM Cub Cadet parts. ... Cub Cadet Parts Diagrams, Cub Cadet LT1040 Tractor 13AX10CG709 13AX10CG710 13BX10CG710 ... Carburetor & Fuel Pump. Command Engine - Controls . Command Engine - Crankshaft ...

Cub Cadet LTX 1045 Carburetor Replacement and Overhaul - In this episode we are getting an all but abandon Cub Cadet running like new with a simple and inexp...

Cub Cadet LT1042, LT1046, LT1042, LT1045, LT1050 Lubrication, Carburetor . Lubrication, WARNING: , Engine, Front Wheels, Pivot Points & Linkage, Deck Wheels, Deck ...

Description: Pizzahutblog: Cub Cadet Ltx 1045 Parts regarding Cub Cadet Lt1045 Parts Diagram, image size 400 X 300 px, and to view image details please click the image.. Truly, we have been realized that cub cadet lt1045 parts diagram is being one of the most popular issue at this time. So that we attempted to find some good cub cadet lt1045 parts diagram picture for your needs.

Check your oil. Most cub cadets use a kohler engine which will allow gasoline to drain into the crankcase and fill it with gas. The fuel must be shut off on ...

Buy Genuine OEM Cub Cadet parts for your Cub Cadet LT1045 Tractor (2007 & before) 13AX11CH709 13AX11CH710 13AX11CH712 13AX11CH756 13BP11CH709 13BP11CH710 13BP11CH756 13RX11CH756 and ship today! Huge in-stock inventory of OEM Cub Cadet parts.

Cub cadet LT1045 Manuals | ManualsLib

Cub cadet lt1045 manuals | manualslib

Cub Cadet LT1045 Tractor (2007 & before) 13AX11CH709 ...

Cub cadet lt1045 tractor (2007 & before) 13ax11ch709 ...

Cub Cadet SC300HW 12ABB22J (HM 2015) 12ABB22J709 (HM 2015 ...

Cub cadet sc300hw 12abb22j (hm 2015) 12abb22j709 (hm 2015 ...

Cub Cadet LT1042, LT1046, LT1042, LT1045, LT1050 Lubrication ...

Cub cadet lt1042, lt1046, lt1042, lt1045, lt1050 lubrication ...

Cub Cadet LT 1045 (13BP11CH756) - Cub Cadet 46

Cub cadet lt 1045 (13bp11ch756) - cub cadet 46" lawn tractor ...

CARBURETOR CARB FOR Cub Cadet LT1042 Kohler Courage 19 Engine ...

Carburetor carb for cub cadet lt1042 kohler courage 19 engine ...

Backfiring Cub Cadet LT1045

Backfiring cub cadet lt1045

Cub Cadet LT 1045 Lawn Tractor Service Repair Manual by ...

Cub cadet lt 1045 lawn tractor service repair manual by ...

Page 24 of Cub Cadet Lawn Mower LT1045 User Guide ...

Page 24 of cub cadet lawn mower lt1045 user guide ...

How do i remove the bowl and carburetor off a cub cadet - Fixya

How do i remove the bowl and carburetor off a cub cadet - fixya

Carburetor For Cub Cadet LTX LT1045 Troy Bilt 22hp SV470 ...

Carburetor for cub cadet ltx lt1045 troy bilt 22hp sv470 ...

Cub Cadet LT1045 Tractor (2008 & after) 13AX11CH009 ...

Cub cadet lt1045 tractor (2008 & after) 13ax11ch009 ...

cub cadet ltx1042 parts cheap online

Cub cadet ltx1042 parts cheap online

Cub Cadet LT 1045 (13BP11CH756) - Cub Cadet 46

Cub cadet lt 1045 (13bp11ch756) - cub cadet 46" lawn tractor ...

Cub Cadet LT1042, LT1046, LT1042, LT1045, LT1050 Hydrostatic ...

Cub cadet lt1042, lt1046, lt1042, lt1045, lt1050 hydrostatic ...

Cub Cadet LTX1045 Tractor (2011) 13WX91AT010 (2011 ...

Cub cadet ltx1045 tractor (2011) 13wx91at010 (2011 ...

Cub Cadet LT 1042 - YouTube

Cub cadet lt 1042 - youtube

Cub cadet LT1045 Manuals | ManualsLib

Cub cadet lt1045 manuals | manualslib

Cub Cadet LT1045 Tractor (2007 & before) 13AX11CH709 ...

Cub cadet lt1045 tractor (2007 & before) 13ax11ch709 ...

Cub Cadet 440 (216-440-100) (1996 Engine) Carburetor, Linkage ...

Cub cadet 440 (216-440-100) (1996 engine) carburetor, linkage ...

Carburetor Carb For 2007 LT1045 Cub Cadet 20 HP For Kohler Engine

Carburetor carb for 2007 lt1045 cub cadet 20 hp for kohler engine

Carburetor for Cub Cadet LT1042, LT1045, LTX1042, LTX1045 ...

Carburetor for cub cadet lt1042, lt1045, ltx1042, ltx1045 ...

DIY stuck carburetor throttle and maintenance XT1 Cub Cadet

Diy stuck carburetor throttle and maintenance xt1 cub cadet

Cub Cadet LT1045 Tractor (2008 & after) 13AX11CH009 ...

Cub cadet lt1045 tractor (2008 & after) 13ax11ch009 ...

ILLUSTRATED PARTS MANUAL

Illustrated parts manual

Cub Cadet LT1045 Tractor (2007 & before) 13AX11CH709 ...

Cub cadet lt1045 tractor (2007 & before) 13ax11ch709 ...

Carb For Kohler 2085333S Carburetor Cub Cadet LTX LT1045 TroyBilt 22hp  SV470-620

Carb for kohler 2085333s carburetor cub cadet ltx lt1045 troybilt 22hp sv470-620

Cub Cadet Parts Lookup -LT1045 Tractor (2007 & before ...

Cub cadet parts lookup -lt1045 tractor (2007 & before ...

SOLVED: Cub cadet ltx 1045 wont start, no spark. - Fixya

Solved: cub cadet ltx 1045 wont start, no spark. - fixya

Cub Cadet Parts Diagrams, Cub Cadet LT1045 Tractor (2007 ...

Cub cadet parts diagrams, cub cadet lt1045 tractor (2007 ...

Cub Cadet Parts Diagrams, Cub Cadet LT1045 Tractor (2008 ...

Cub cadet parts diagrams, cub cadet lt1045 tractor (2008 ...

Cub Cadet Snowblower Runs Roughly? Carburetor #951-14027A

Cub cadet snowblower runs roughly? carburetor #951-14027a

Cub Cadet SC300HW 12ABB22J (HM 2015) 12ABB22J709 (HM 2015 ...

Cub cadet sc300hw 12abb22j (hm 2015) 12abb22j709 (hm 2015 ...

Cub Cadet LT1042, LT1046, LT1042, LT1045, LT1050 - page 29

Cub cadet lt1042, lt1046, lt1042, lt1045, lt1050 - page 29

Cub Cadet Lt1045 Operators Manual 769 01514B

Cub cadet lt1045 operators manual 769 01514b

MOTOKU Carburetor for Cub Cadet LT1045 LT1042 LTX Rider 19HP Courage Engine  22 HP SV470 SV480 Motor Riding Lawn Mower Carb for Toro 74360 74363 74380  ...

Motoku carburetor for cub cadet lt1045 lt1042 ltx rider 19hp courage engine 22 hp sv470 sv480 motor riding lawn mower carb for toro 74360 74363 74380 ...

Cub Cadet LT 1045 (13BP11CH756) - Cub Cadet 46

Cub cadet lt 1045 (13bp11ch756) - cub cadet 46" lawn tractor ...

Cub cadet LT1045 Manuals | ManualsLib

Cub cadet lt1045 manuals | manualslib

SOLVED: I need a carburetor linkage diagram for a Cub - Fixya

Solved: i need a carburetor linkage diagram for a cub - fixya

Replaces Cub Cadet LT1045 Riding Lawn Mower Carburetor ...

Replaces cub cadet lt1045 riding lawn mower carburetor ...

Autoparts New Carburetor Carb for Courage Kohler 20-853-33-S SV530 SV540  SV590 SV600

Autoparts new carburetor carb for courage kohler 20-853-33-s sv530 sv540 sv590 sv600

Cub Cadet Op's Manual Model Lt1042 Lt1045 Lt1046 Lt1050 ...

Cub cadet op's manual model lt1042 lt1045 lt1046 lt1050 ...

0 Response to "43 cub cadet lt1045 carburetor diagram"

Post a Comment

Iklan Atas Artikel

Iklan Tengah Artikel 1

Iklan Tengah Artikel 2

Iklan Bawah Artikel